专利数据库
统计分析
产业报告
专利数据监控
产业人才
行业动态
产业政策法规
维权援助
个人中心
详情
文本
图像
标题
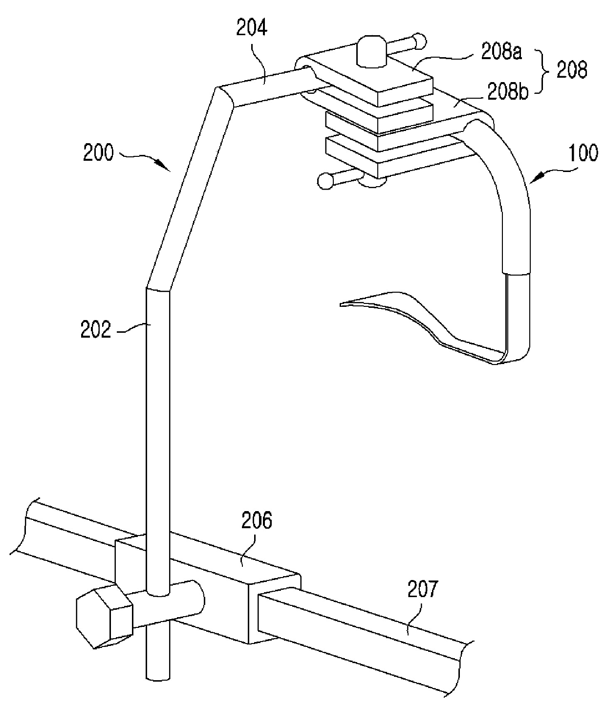
가스리스 복강경 수술용 리트랙터 시스템
授权日
2019-09-16
公开(公告)号
KR102023347B1
申请日
2018-05-17
公开(公告)日
2019-09-20
当前申请(专利权)人
가톨릭관동대학교산학협력단
发明人
김보욱
简单同族
KR102023347B1
简单同族成员数量
1
简单同族被引用专利总数
0
诉讼案件数
0
法律状态/事件
授权 | 复审
抱歉,您的浏览器不支持PDF预览,请点击链接下载PDF文件