专利数据库
统计分析
产业报告
专利数据监控
产业人才
行业动态
产业政策法规
维权援助
个人中心
详情
文本
图像
标题
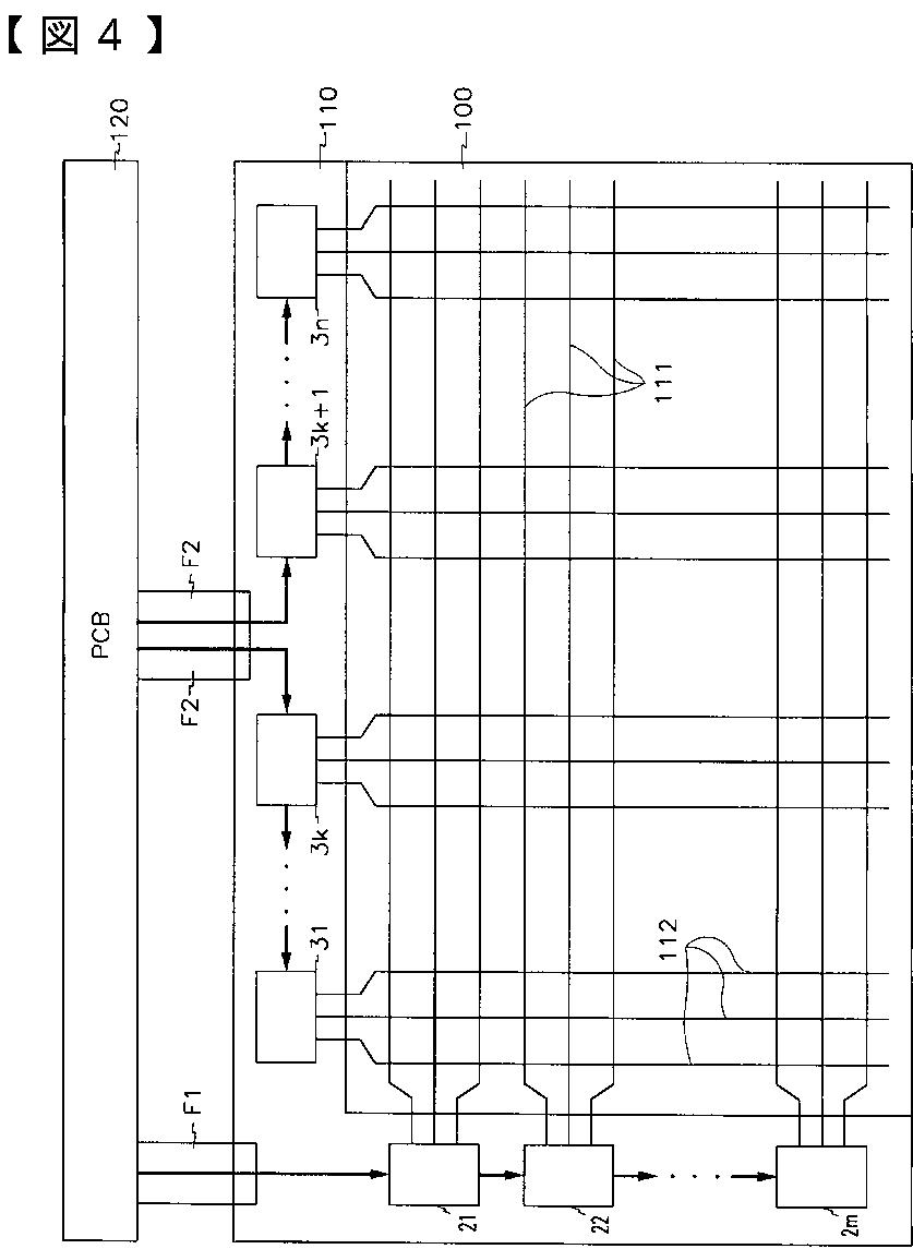
液晶表示装置及びその駆動方法
授权日
2008-10-10
公开(公告)号
JP4198927B2
申请日
2002-03-26
公开(公告)日
2008-12-17
当前申请(专利权)人
三星電子株式会社
发明人
文 勝 煥
简单同族
JP2003075802A | JP4198927B2 | KR100767365B1 | KR1020030020513A | TW525134B | US20030043100A1 | US7193623
简单同族成员数量
7
简单同族被引用专利总数
93
诉讼案件数
0
法律状态/事件
授权 | 权利转移
抱歉,您的浏览器不支持PDF预览,请点击链接下载PDF文件