专利数据库
统计分析
产业报告
专利数据监控
产业人才
行业动态
产业政策法规
维权援助
个人中心
详情
文本
图像
标题
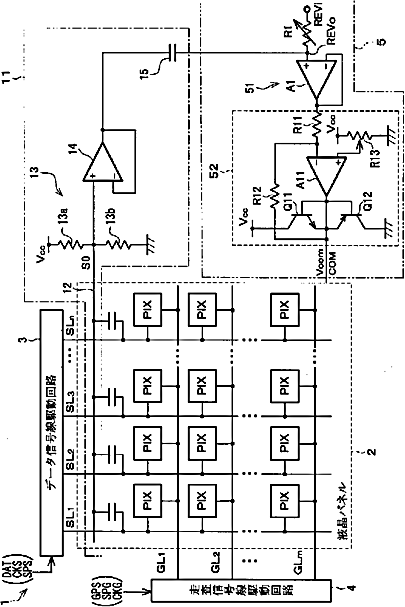
アクティブマトリクス型の液晶表示装置およびデータ信号線駆動回路、並びに、液晶表示装置の駆動方法
授权日
1900-01-01
公开(公告)号
JP2001147420A
申请日
2000-08-11
公开(公告)日
2001-05-29
当前申请(专利权)人
シャープ株式会社
发明人
川口 登史 | 柳 俊洋
简单同族
JP2001147420A | JP3583356B2 | KR100379605B1 | KR1020010030279A | TW493150B | US6677925
简单同族成员数量
6
简单同族被引用专利总数
102
诉讼案件数
0
法律状态/事件
未缴年费
抱歉,您的浏览器不支持PDF预览,请点击链接下载PDF文件