专利数据库
统计分析
产业报告
专利数据监控
产业人才
行业动态
产业政策法规
维权援助
个人中心
详情
文本
图像
标题
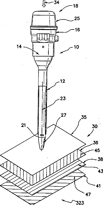
Bladeless obturator
授权日
1900-01-01
公开(公告)号
US20140114339A1
申请日
2013-12-23
公开(公告)日
2014-04-24
当前申请(专利权)人
APPLIED MEDICAL RESOURCES CORPORATION
发明人
PINGLETON, EDWARD D. | WIXEY, MATTHEW A. | KAHLE, HENRY
简单同族
CA2461166A1 | CA2461166C | CA2856604A1 | CA2856604C | EP1429660A1 | EP1429660A4 | EP1429660B1 | EP2428170A2 | EP2428170A3 | EP2428170B1 | EP2428171A2 | EP2428171A3 | EP2428171B1 | EP2428172A2 | EP2428172A3 | EP2428172B1 | EP2428173A2 | EP2428173A3 | EP2428173B1 | EP2428174A2 | EP2428174A3 | EP2428174B1 | EP2428175A2 | EP2428175A3 | EP2428175B1 | EP2428176A2 | EP2428176A3 | EP2428176B1 | EP2769683A2 | EP2769683A3 | EP2769683B1 | JP2005503230A | JP2005503230A5 | JP4287273B2 | US20050107816A1 | US20100222801A1 | US20140114339A1 | US7686823 | US8636759 | US9254125 | WO2003026512A1
简单同族成员数量
41
简单同族被引用专利总数
329
诉讼案件数
0
法律状态/事件
授权 | 质押 | 权利转移
抱歉,您的浏览器不支持PDF预览,请点击链接下载PDF文件