专利数据库
统计分析
产业报告
专利数据监控
产业人才
行业动态
产业政策法规
维权援助
个人中心
详情
文本
图像
标题
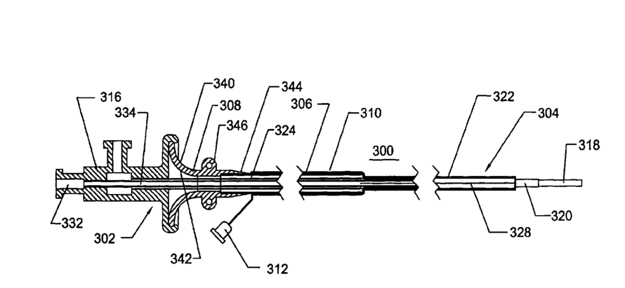
Expandable transluminal sheath
授权日
2017-10-31
公开(公告)号
US9801619
申请日
2014-05-23
公开(公告)日
2017-10-31
当前申请(专利权)人
ONSET MEDICAL CORPORATION
发明人
LENKER, JAY | NANCE, EDWARD J. | BISHOP, JOSEPH | KICK, GEORGE F.
简单同族
EP1793881A2 | EP1793881A4 | EP1793881B1 | JP2008512196A | JP2008512196A5 | JP2012196543A | JP2015119983A | JP5102031B2 | JP5775037B2 | JP6114766B2 | US20060052750A1 | US20110306843A1 | US20130261399A1 | US20140257042A1 | US7892203 | US8348892 | US8764704 | US9801619 | WO2006031582A2 | WO2006031582A3
简单同族成员数量
20
简单同族被引用专利总数
203
诉讼案件数
0
法律状态/事件
授权
抱歉,您的浏览器不支持PDF预览,请点击链接下载PDF文件