专利数据库
统计分析
产业报告
专利数据监控
产业人才
行业动态
产业政策法规
维权援助
个人中心
详情
文本
图像
标题
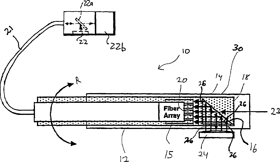
Optical methods and systems for tissue analysis
授权日
1900-01-01
公开(公告)号
US20020183601A1
申请日
2001-10-30
公开(公告)日
2002-12-05
当前申请(专利权)人
THE GENERAL HOSPITAL CORPORATION
发明人
TEARNEY, GUILLERMO J. | BOUMA, BRETT E.
简单同族
AT454845T | AU2002230842A1 | DE60141090D1 | EP1434522A1 | EP1434522A4 | EP1434522B1 | JP2004512538A | JP4241038B2 | US20020183601A1 | US20070073162A1 | US20120022381A1 | US7231243 | US8032200 | US9282931 | WO2002036015A1
简单同族成员数量
15
简单同族被引用专利总数
488
诉讼案件数
0
法律状态/事件
未缴年费 | 权利转移
抱歉,您的浏览器不支持PDF预览,请点击链接下载PDF文件