专利数据库
统计分析
产业报告
专利数据监控
产业人才
行业动态
产业政策法规
维权援助
个人中心
详情
文本
图像
标题
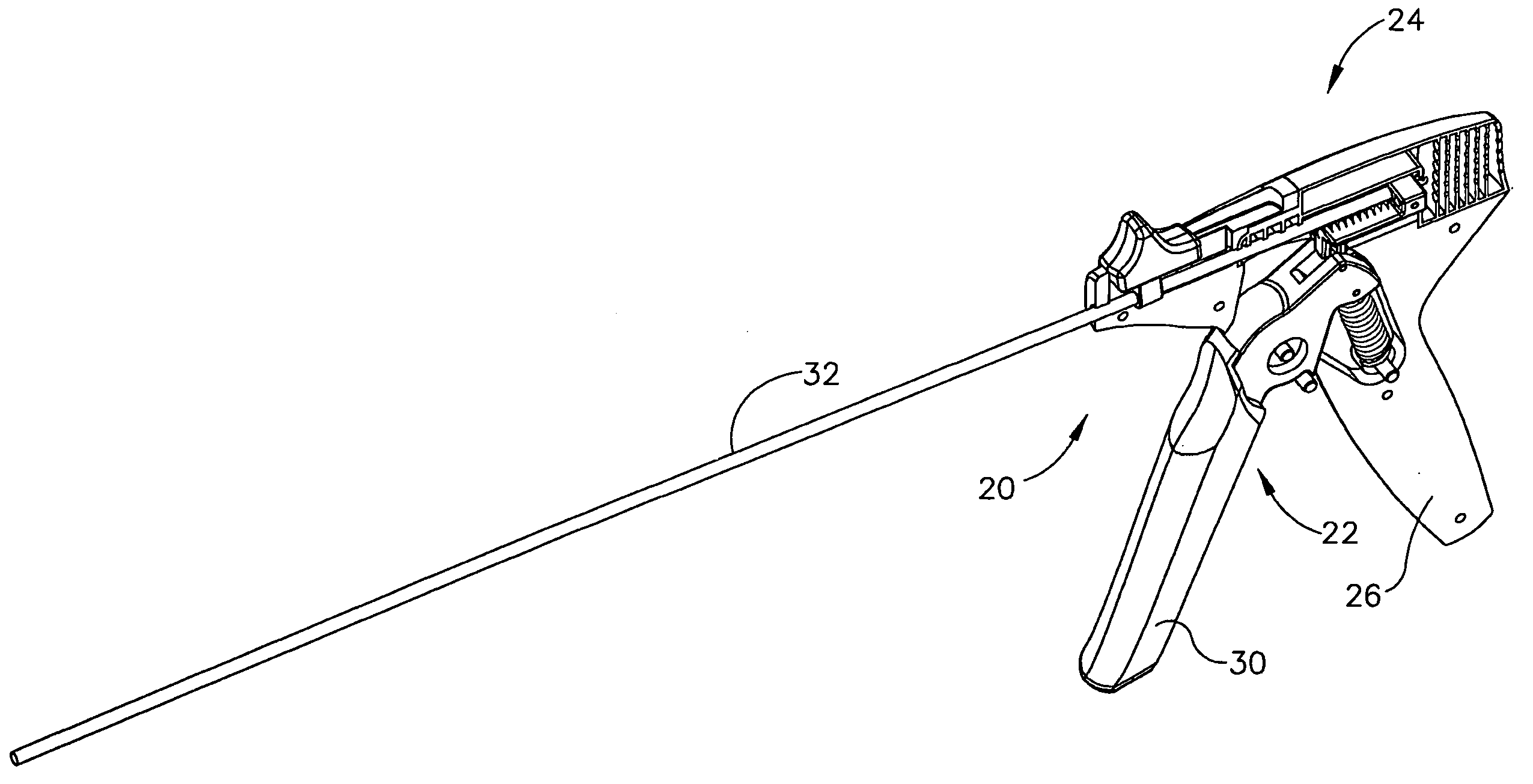
Reloadable laparoscopic fastener deploying device with disposable cartridge for use in a gastric volume reduction procedure
授权日
1900-01-01
公开(公告)号
US20100023026A1
申请日
2008-07-25
公开(公告)日
2010-01-28
当前申请(专利权)人
ETHICON ENDO-SURGERY, INC.
发明人
ZEINER, MARK S. | HARRIS, JASON L. | STOKES, MICHAEL J. | HOLCOMB, MATTHEW D. | ORTIZ, MARK S. | CRAINICH, LAWRENCE | KONDOR, ALEX P.
简单同族
BRPI0916791A2 | CA2732219A1 | CN102143712A | EP2317936A1 | JP2011528954A | RU2011106943A | US20100023026A1 | WO2010011832A1
简单同族成员数量
8
简单同族被引用专利总数
71
诉讼案件数
0
法律状态/事件
撤回 | 权利转移
抱歉,您的浏览器不支持PDF预览,请点击链接下载PDF文件