专利数据库
统计分析
产业报告
专利数据监控
产业人才
行业动态
产业政策法规
维权援助
个人中心
详情
文本
图像
标题
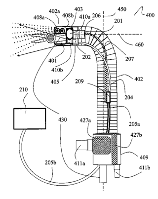
Disposable endoscopic access device and portable display
授权日
2014-09-09
公开(公告)号
US8827899
申请日
2010-09-17
公开(公告)日
2014-09-09
当前申请(专利权)人
VIVID MEDICAL, INC.
发明人
FARR, ALI | FARR, MINA | TOGAMI, CHRIS
简单同族
CA2812919A1 | CA2812919C | CN103298391A | CN103298391B | EP2615962A2 | EP2615962A4 | EP2615962B1 | KR101569781B1 | KR1020130082503A | US10045683 | US20110028790A1 | US20140343359A1 | US8827899 | WO2012037525A2 | WO2012037525A3
简单同族成员数量
15
简单同族被引用专利总数
224
诉讼案件数
0
法律状态/事件
授权 | 权利转移
抱歉,您的浏览器不支持PDF预览,请点击链接下载PDF文件