专利数据库
统计分析
产业报告
专利数据监控
产业人才
行业动态
产业政策法规
维权援助
个人中心
详情
文本
图像
标题
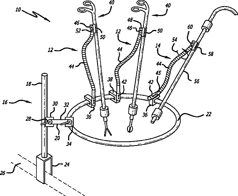
Surgical robotic helping hand system
授权日
1900-01-01
公开(公告)号
US20060253109A1
申请日
2006-02-08
公开(公告)日
2006-11-09
当前申请(专利权)人
CHU DAVID
发明人
CHU, DAVID
简单同族
US20060253109A1 | WO2007092682A1
简单同族成员数量
2
简单同族被引用专利总数
81
诉讼案件数
0
法律状态/事件
撤回
抱歉,您的浏览器不支持PDF预览,请点击链接下载PDF文件