专利数据库
统计分析
产业报告
专利数据监控
产业人才
行业动态
产业政策法规
维权援助
个人中心
详情
文本
图像
标题
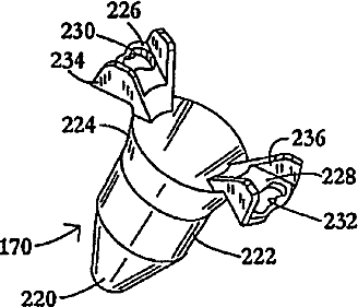
Laparoscopic instrument and cannula assembly and related surgical method
授权日
2015-03-03
公开(公告)号
US8968247
申请日
2013-06-10
公开(公告)日
2015-03-03
当前申请(专利权)人
COVIDIEN LP
发明人
PISKUN, GREGORY | KONIK, ANATOLY | ROTTENBERG, DAN
简单同族
AU2005275261A1 | AU2005275261B2 | CA2573064A1 | CA2573064C | CA2835923A1 | CN101022848A | CN101022848B | EP1789122A2 | EP1789122A4 | EP1789122B1 | JP2008507334A | JP2008507334A5 | JP2011152450A | JP2013006050A | JP4881300B2 | US20060020241A1 | US20100222643A1 | US20130281783A1 | US20150133739A1 | US7753901 | US8460271 | US8968247 | US9433435 | WO2006019592A2 | WO2006019592A3 | WO2006019723A2 | WO2006019723A3
简单同族成员数量
27
简单同族被引用专利总数
449
诉讼案件数
0
法律状态/事件
授权 | 权利转移
抱歉,您的浏览器不支持PDF预览,请点击链接下载PDF文件