专利数据库
统计分析
产业报告
专利数据监控
产业人才
行业动态
产业政策法规
维权援助
个人中心
详情
文本
图像
标题
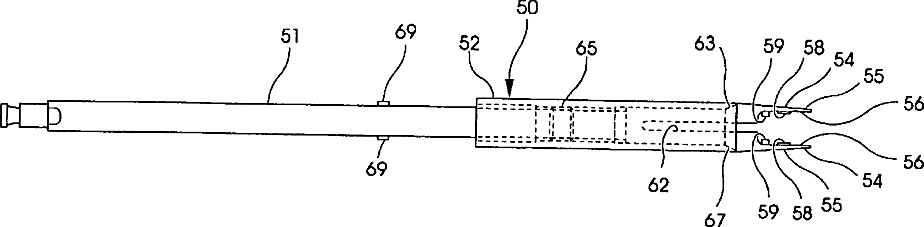
Methods and instruments for interbody fusion
授权日
1900-01-01
公开(公告)号
US20020022845A1
申请日
2000-12-21
公开(公告)日
2002-02-21
当前申请(专利权)人
WARSAW ORTHOPEDIC, INC.
发明人
ZDEBLICK, THOMAS | BOYD, LAWRENCE M. | RAY, EDDIE III
简单同族
US20020022845A1 | US20030195519A1 | US6245072 | US6595995 | US7300440
简单同族成员数量
5
简单同族被引用专利总数
495
诉讼案件数
0
法律状态/事件
期限届满 | 权利转移
抱歉,您的浏览器不支持PDF预览,请点击链接下载PDF文件