专利数据库
统计分析
产业报告
专利数据监控
产业人才
行业动态
产业政策法规
维权援助
个人中心
详情
文本
图像
标题
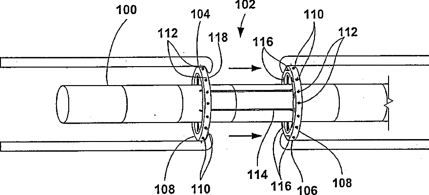
Apparatus and method for endoscopic colectomy
授权日
1900-01-01
公开(公告)号
US20080154288A1
申请日
2008-02-07
公开(公告)日
2008-06-26
当前申请(专利权)人
INTUITIVE SURGICAL OPERATIONS, INC.
发明人
BELSON, AMIR
简单同族
AU2002359847A1 | CA2472207A1 | CN1764416A | EP1469781A2 | EP1469781A4 | EP1469781B1 | IL162696D0 | JP2005514145A | US10349816 | US20030171775A1 | US20080154288A1 | US20130116712A1 | US20140188142A1 | US20160331376A1 | US20200000322A1 | US7338505 | US8361090 | US8696694 | US9421016 | WO2003059151A2 | WO2003059151A3
简单同族成员数量
21
简单同族被引用专利总数
449
诉讼案件数
0
法律状态/事件
授权 | 质押 | 权利转移
抱歉,您的浏览器不支持PDF预览,请点击链接下载PDF文件