专利数据库
统计分析
产业报告
专利数据监控
产业人才
行业动态
产业政策法规
维权援助
个人中心
详情
文本
图像
标题
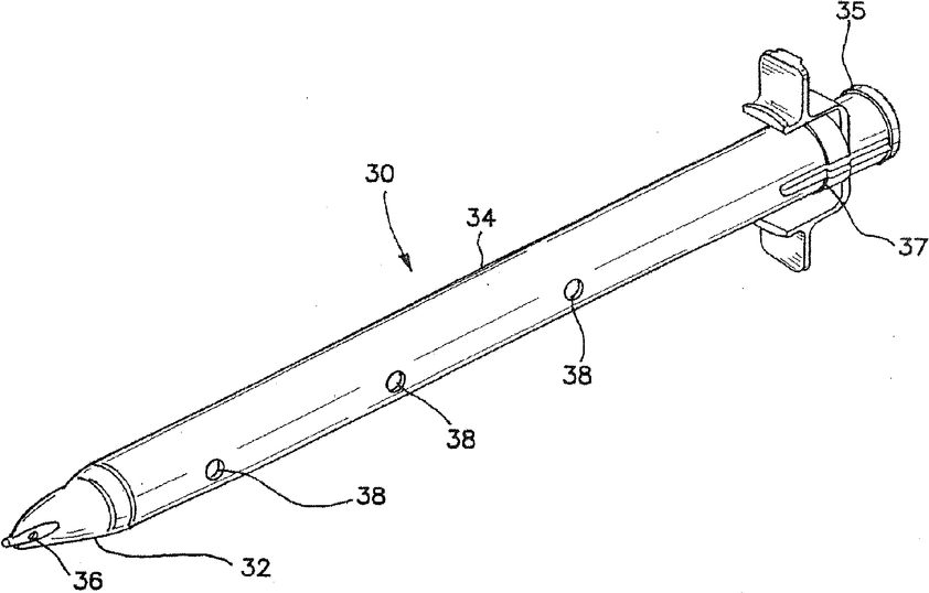
Insufflating optical surgical instrument
授权日
1900-01-01
公开(公告)号
US20150367088A1
申请日
2015-09-01
公开(公告)日
2015-12-24
当前申请(专利权)人
APPLIED MEDICAL RESOURCES CORPORATION
发明人
ALBRECHT, JEREMY J. | BRUSTAD, JOHN R. | TAYLOR, SCOTT V. | JOHNSON, GARY M. | HILAL, NABIL
简单同族
AU2005260071A1 | AU2005260071B2 | CA2572192A1 | EP1765197A1 | EP1765197B1 | EP2545870A1 | EP2545870B1 | EP2545871A1 | EP2545871B1 | EP2984998A1 | EP2984998B1 | EP3175804A1 | EP3175804B1 | EP3431026A1 | JP2008504886A | JP2012135650A | JP5004793B2 | JP5579772B2 | US10226589 | US20050288622A1 | US20100210998A1 | US20120123202A1 | US20150367088A1 | US20190192793A1 | US7708713 | US8128590 | US9155558 | WO2006004652A1
简单同族成员数量
28
简单同族被引用专利总数
196
诉讼案件数
0
法律状态/事件
授权 | 质押
抱歉,您的浏览器不支持PDF预览,请点击链接下载PDF文件