专利数据库
统计分析
产业报告
专利数据监控
产业人才
行业动态
产业政策法规
维权援助
个人中心
详情
文本
图像
标题
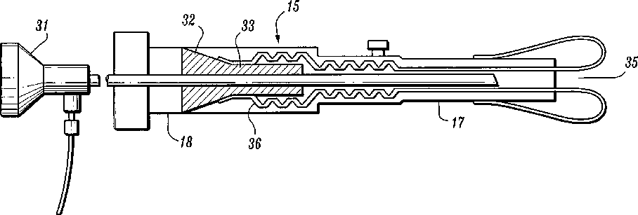
Methods and devices for blood vessel harvesting
授权日
2009-09-15
公开(公告)号
US7588584
申请日
2004-12-22
公开(公告)日
2009-09-15
当前申请(专利权)人
GENERAL SURGICAL INNOVATIONS, INC.
发明人
FOGARTY, THOMAS J. | MOLLENAUER, KENNETH H. | MONFORT, MICHELLE Y. | HERMANN, GEORGE D. | WILL, ALLAN R.
简单同族
AT206030T | CA2221474A1 | CA2221474C | DE69615553D1 | DE69615553T2 | DE69636660D1 | DE69636660T2 | EP0831744A1 | EP0831744A4 | EP0831744B1 | EP1097675A2 | EP1097675A3 | EP1097675B1 | ES2274825T3 | JP2000516107A | JP3914260B2 | US20030014069A1 | US20040193195A1 | US20040204719A1 | US20050154415A1 | US20100049235A1 | US5601581 | US5730748 | US5853417 | US5876413 | US5899913 | US6068639 | US6451035 | US6527787 | US6840946 | US7077852 | US7473262 | US7588584 | US8133248 | WO1996036287A1
简单同族成员数量
35
简单同族被引用专利总数
442
诉讼案件数
0
法律状态/事件
未缴年费 | 权利转移
抱歉,您的浏览器不支持PDF预览,请点击链接下载PDF文件