专利数据库
统计分析
产业报告
专利数据监控
产业人才
行业动态
产业政策法规
维权援助
个人中心
详情
文本
图像
标题
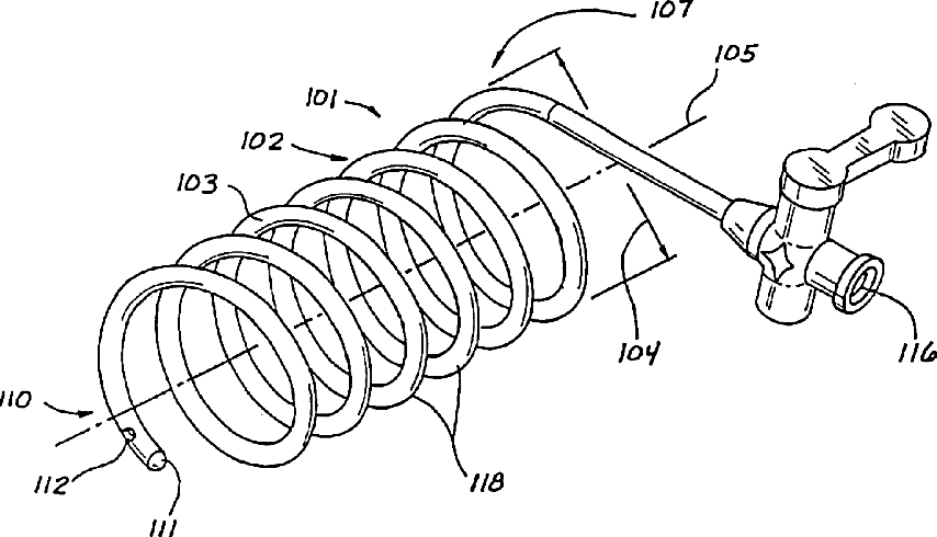
Surgical access apparatus and method
授权日
2005-05-03
公开(公告)号
US6887194
申请日
2003-01-17
公开(公告)日
2005-05-03
当前申请(专利权)人
APPLIED MEDICAL RESOURCES CORPORATION
发明人
HART, CHARLES C. | BRUSTAD, JOHN R.
简单同族
AU2004207445A1 | AU2004207445B2 | CA2512878A1 | EP1594391A2 | EP1594391A4 | JP2007501102A | US20040143158A1 | US20050159647A1 | US6887194 | US8105285 | WO2004066827A2 | WO2004066827A3
简单同族成员数量
12
简单同族被引用专利总数
198
诉讼案件数
0
法律状态/事件
授权 | 质押 | 权利转移
抱歉,您的浏览器不支持PDF预览,请点击链接下载PDF文件