专利数据库
统计分析
产业报告
专利数据监控
产业人才
行业动态
产业政策法规
维权援助
个人中心
详情
文本
图像
标题
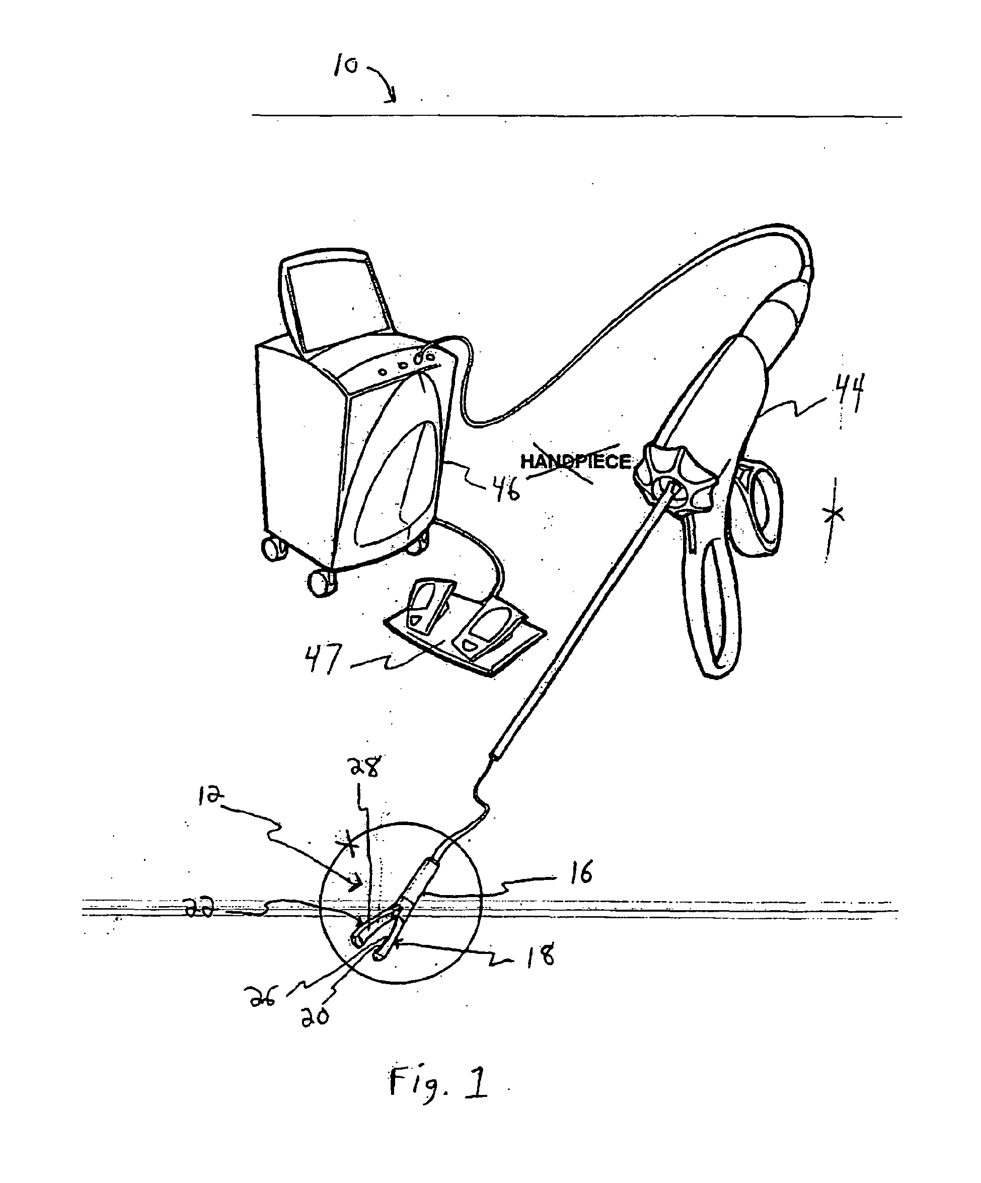
Tissue-retaining system for ultrasound medical treatment
授权日
2011-01-05
公开(公告)号
EP1397074B1
申请日
2002-05-28
公开(公告)日
2011-01-05
当前申请(专利权)人
ETHICON ENDO-SURGERY, INC.
发明人
MAKIN,, INDER, RAJ., S., | DUNKI-JACOBS,, ROBERT, | PELEGRINO,, RICHARD, C.,
简单同族
AT439807T | AT459293T | AT494041T | AU2002303862A1 | AU2002303862B2 | AU2002312085A1 | AU2002312085B2 | AU2002312086A1 | AU2002312086B2 | AU2002314816A1 | AU2002314816B2 | CA2448906A1 | CA2448957A1 | CA2449012A1 | CA2449015A1 | CA2449062A1 | CA2449068A1 | CA2449568A1 | DE60233401D1 | DE60235541D1 | DE60238838D1 | EP1397070A2 | EP1397070A4 | EP1397073A2 | EP1397073A4 | EP1397073B1 | EP1397074A2 | EP1397074A4 | EP1397074B1 | EP1397075A2 | EP1397075A4 | EP1397075B1 | EP1401530A2 | EP1401530A4 | EP1427343A2 | EP1427343A4 | EP1432355A2 | EP1432355A4 | EP2289443A2 | EP2289443A3 | EP2289443B1 | ES2356808T3 | JP2004528924A | JP2004528925A | JP2004530481A | JP2004532686A | JP2004532688A | JP2004532688A6 | JP2004532689A | JP2004532690A | JP2004532691A | JP2004535860A | JP2004537350A | US20030013960A1 | US20030013970A1 | US20030013971A1 | US20030013972A1 | US20030014093A1 | US20030018266A1 | US20030018270A1 | US20030032898A1 | US20030069502A1 | US20030092988A1 | US20100312151A1 | US20130226040A1 | US7473224 | US7806892 | US8333721 | US9005144 | WO2002096304A1 | WO2002096304A8 | WO2002096304A9 | WO2002096481A2 | WO2002096481A3 | WO2002096501A2 | WO2002096501A3 | WO2002096502A2 | WO2002096502A3 | WO2002096502A9 | WO2002096503A2 | WO2002096503A3 | WO2002096504A2 | WO2002096504A3 | WO2002096504A9 | WO2002096505A2 | WO2002096505A3 | WO2002096506A2 | WO2002096506A3 | WO2002096506A8 | WO2002096506A9 | WO2002096507A2 | WO2002096507A3 | WO2002096508A2 | WO2002096508A3 | WO2002096508A8 | WO2002096508A9
简单同族成员数量
96
简单同族被引用专利总数
462
诉讼案件数
0
法律状态/事件
授权 | 权利转移
抱歉,您的浏览器不支持PDF预览,请点击链接下载PDF文件