专利数据库
统计分析
产业报告
专利数据监控
产业人才
行业动态
产业政策法规
维权援助
个人中心
详情
文本
图像
标题
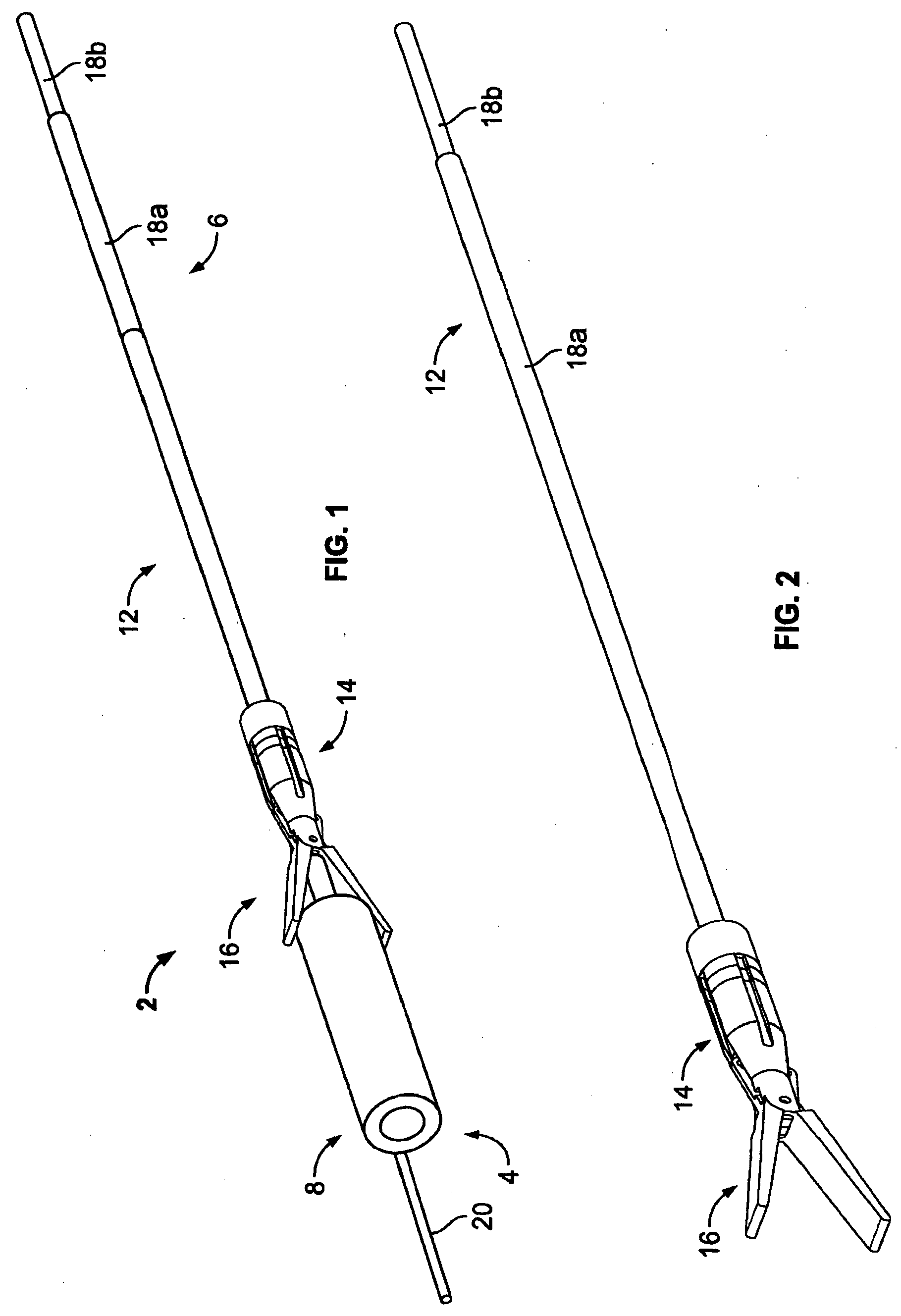
Surgical device
授权日
2016-03-16
公开(公告)号
EP2413827B1
申请日
2010-04-05
公开(公告)日
2016-03-16
当前申请(专利权)人
THE BOARD OF TRUSTEES OF THE LELAND STANFORD JUNIOR UNIVERSITY
发明人
CHAO, KEVIN, ZI JUN | ROOP, JOHN, AVI | MAGEE, GREG | JOU, RONALD | BREWER, REUBEN | PELL, CHRISTOPHER, STEVEN | DUGGAN, BRYAN, J. | DONG, ZHI, CHEN | RUBY, THOMAS
简单同族
AU2010232921A1 | AU2010232921B2 | BRPI1013655A2 | BRPI1013655A8 | CA2757822A1 | CA2757822C | CN102438537A | CN102438537B | EP2413827A1 | EP2413827A4 | EP2413827B1 | JP2012522576A | JP2012522576A5 | JP5489187B2 | KR101716520B1 | KR1020120007522A | MX2011010439A | MX345296B | SG174985A1 | US20120083826A1 | US20160287232A1 | US9308011 | WO2010114634A1
简单同族成员数量
23
简单同族被引用专利总数
489
诉讼案件数
0
法律状态/事件
授权
抱歉,您的浏览器不支持PDF预览,请点击链接下载PDF文件