专利数据库
统计分析
产业报告
专利数据监控
产业人才
行业动态
产业政策法规
维权援助
个人中心
详情
文本
图像
标题
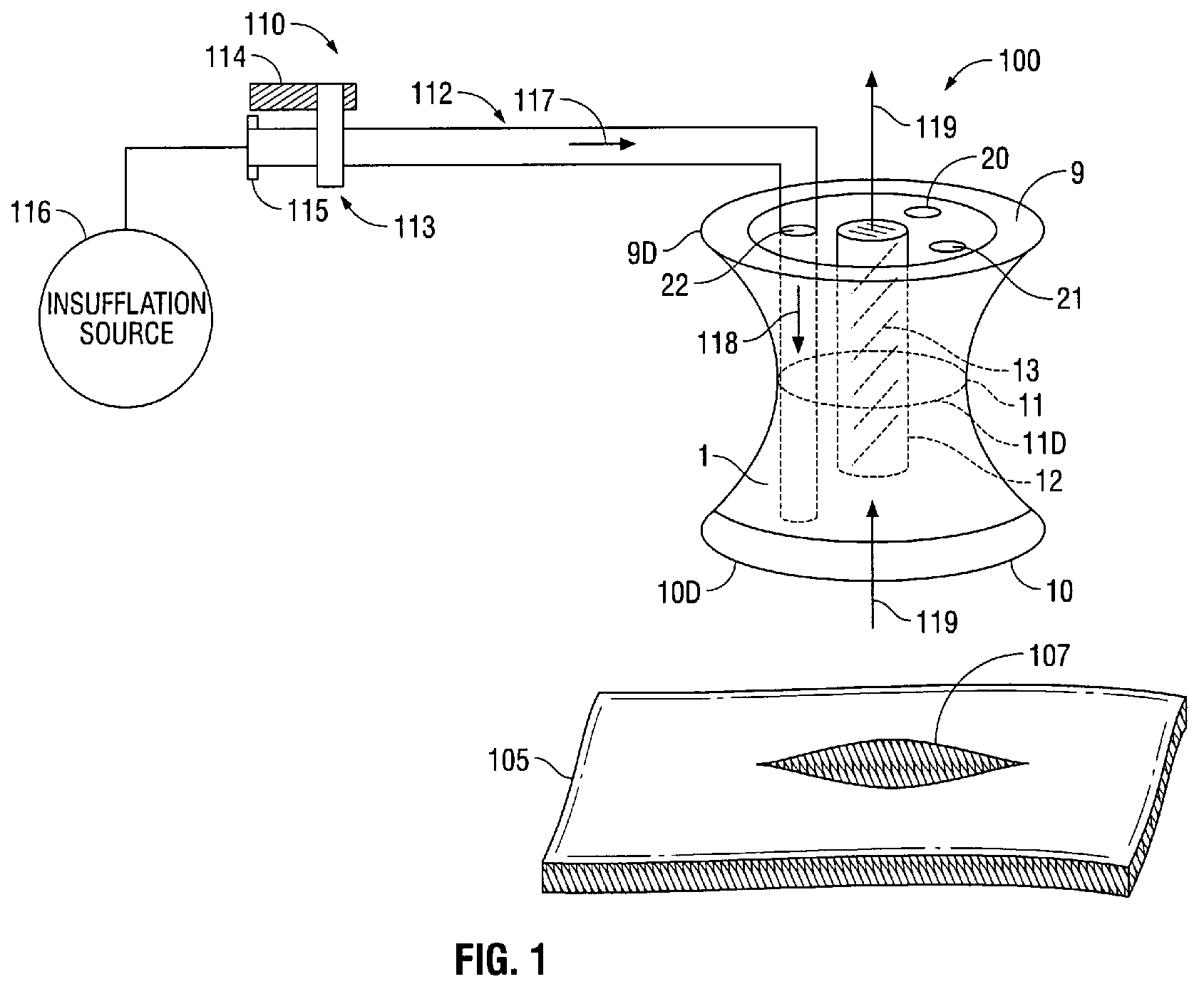
Single port device having integral filter/vent
授权日
1900-01-01
公开(公告)号
EP2279704A1
申请日
2010-07-30
公开(公告)日
2011-02-02
当前申请(专利权)人
COVIDIEN LP
发明人
OKONIEWSKI, GREGORY G.
简单同族
AU2010206077A1 | AU2010206077B2 | CA2711350A1 | EP2279704A1 | EP2279704B1 | ES2630829T3 | JP2011031046A | JP5714254B2 | US20110028891A1 | US20140051933A1 | US8585632 | US9451877
简单同族成员数量
12
简单同族被引用专利总数
100
诉讼案件数
0
法律状态/事件
授权 | 权利转移
抱歉,您的浏览器不支持PDF预览,请点击链接下载PDF文件