专利数据库
统计分析
产业报告
专利数据监控
产业人才
行业动态
产业政策法规
维权援助
个人中心
详情
文本
图像
标题
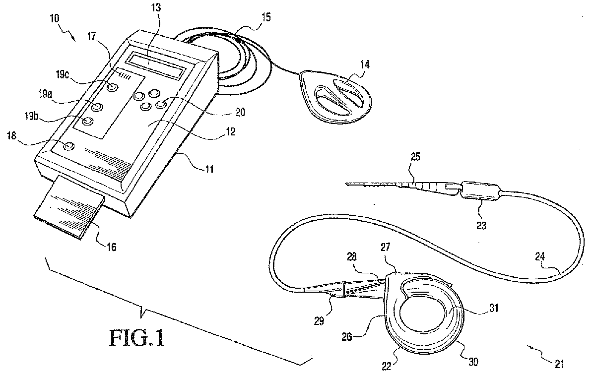
Telemetrically controlled band for regulating functioning of a body organ or duct, and methods of making, implantation and use
授权日
1900-01-01
公开(公告)号
EP2335658A1
申请日
2005-10-12
公开(公告)日
2011-06-22
当前申请(专利权)人
ALLERGAN MEDICAL SÀRL
发明人
BACHMANN, MICHEL | JORDAN, ALAIN | FRIDEZ, PIERRE | MONTAVON, JEAN-CHARLES | IMBERT, CHRISTIAN | STERGIOPULOS, NIKOS
简单同族
AT507804T | AU2005293288A1 | AU2005293288B2 | BRPI0515967A | BRPI0515967A2 | CA2583939A1 | CN101119688A | CR9051A | DE602005027892D1 | DK1827325T3 | EP1827325A1 | EP1827325B1 | EP2335658A1 | ES2363158T3 | HK1108354A | HK1108354A1 | IL182477A | IL182477D0 | JP2008515582A | JP4712807B2 | KR1020070104334A | MX2007004338A | MX287691B | NO20072006L | NZ554472A | NZ554472B | NZ588823A | NZ588823B | RU2007113652A | RU2396925C2 | US20050143766A1 | US7972346 | WO2006040647A1 | ZA200703128B
简单同族成员数量
34
简单同族被引用专利总数
179
诉讼案件数
0
法律状态/事件
撤回
抱歉,您的浏览器不支持PDF预览,请点击链接下载PDF文件