专利数据库
统计分析
产业报告
专利数据监控
产业人才
行业动态
产业政策法规
维权援助
个人中心
详情
文本
图像
标题
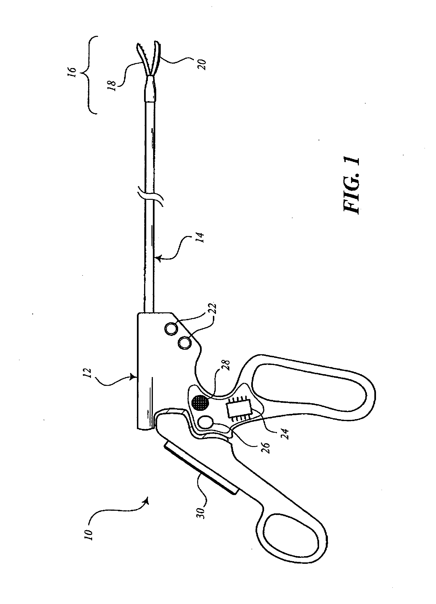
Tool having multiple feedback devices
授权日
2015-04-22
公开(公告)号
EP2296555B1
申请日
2009-11-19
公开(公告)日
2015-04-22
当前申请(专利权)人
IMMERSION CORPORATION
发明人
RAMSTEIN, CHRISTOPHE | ULLRICH, CHRISTOPHER, J. | GRANT, DANNY, A.
简单同族
EP2296555A1 | EP2296555B1 | EP2351528A1 | EP2351528B1 | US20100137845A1 | US20130253483A1 | US8888763 | WO2010065314A1
简单同族成员数量
8
简单同族被引用专利总数
59
诉讼案件数
0
法律状态/事件
授权 | 权利转移
抱歉,您的浏览器不支持PDF预览,请点击链接下载PDF文件