专利数据库
统计分析
产业报告
专利数据监控
产业人才
行业动态
产业政策法规
维权援助
个人中心
详情
文本
图像
标题
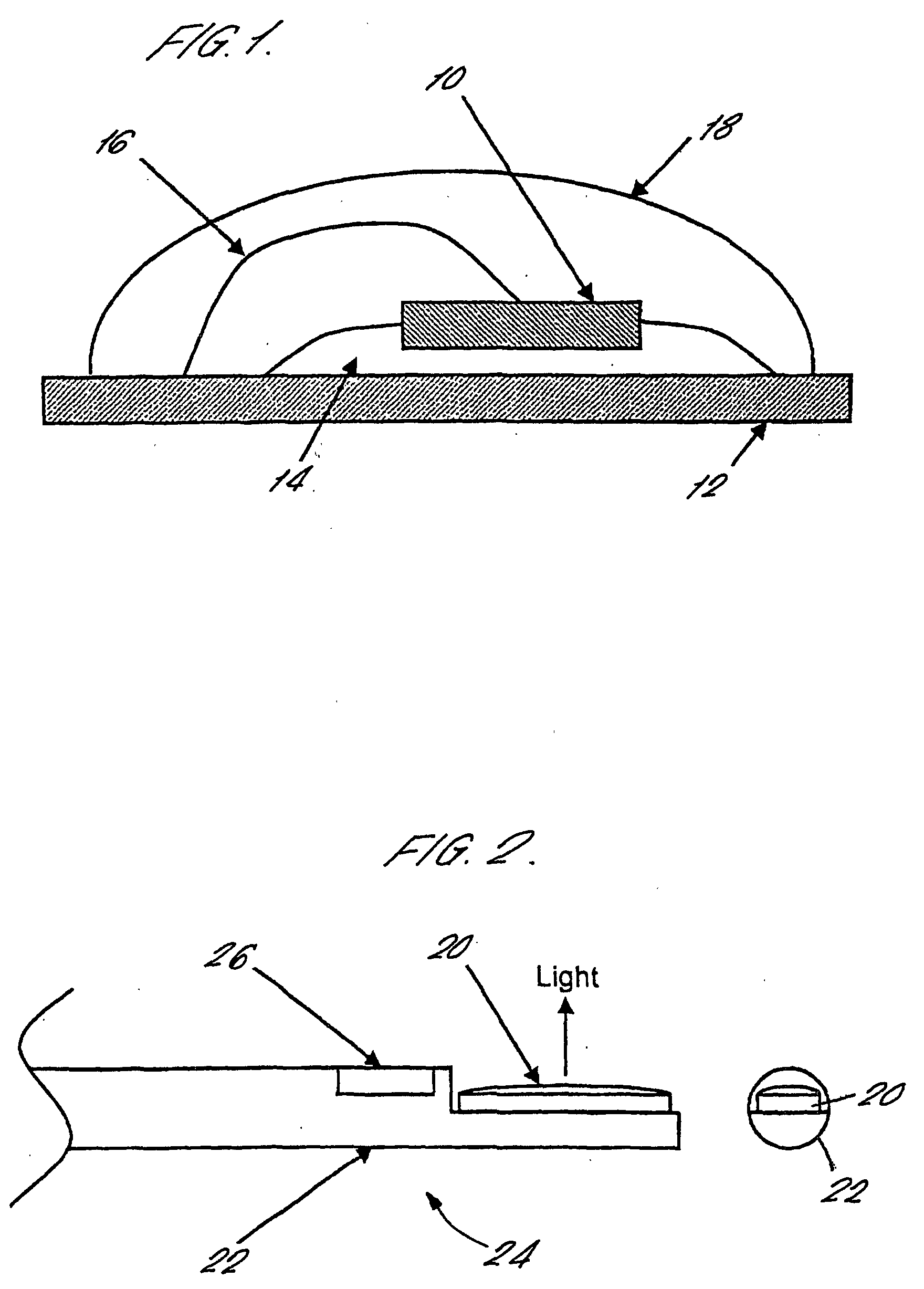
Light source for borescopes and endoscopes
授权日
2005-03-09
公开(公告)号
EP1241975B1
申请日
2000-12-28
公开(公告)日
2005-03-09
当前申请(专利权)人
KEYMED (MEDICAL & INDUSTRIAL EQUIPMENT) LIMITED
发明人
ROSS, IAN MICHAEL | PARIS, NICKI JOHN | ROBINSON, CHRISTOPHER PAUL
简单同族
DE60018610D1 | DE60018610T2 | EP1241975A1 | EP1241975B1 | GB2357856A | GB2357856B | GB9930784D0 | JP2004510457A | JP4554865B2 | US20020193664A1 | US6814699 | WO2001049164A1
简单同族成员数量
12
简单同族被引用专利总数
165
诉讼案件数
0
法律状态/事件
授权
抱歉,您的浏览器不支持PDF预览,请点击链接下载PDF文件