专利数据库
统计分析
产业报告
专利数据监控
产业人才
行业动态
产业政策法规
维权援助
个人中心
详情
文本
图像
标题
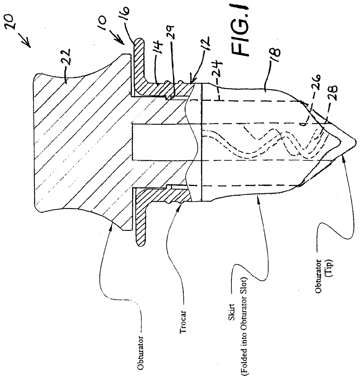
Laparoscopic port assembly
授权日
2017-08-09
公开(公告)号
EP2139377B1
申请日
2008-03-27
公开(公告)日
2017-08-09
当前申请(专利权)人
COVIDIEN LP
发明人
PISKUN, GREGORY | BATTLES, CHRISTOPHER | RENDE, FRANK | ABRAMS, MICHAEL | SHIKHMAN, OLEG
简单同族
AU2008233166A1 | AU2008233166B2 | CA2681751A1 | EP2139377A1 | EP2139377A4 | EP2139377B1 | EP3245941A1 | EP3245941B1 | ES2639382T3 | JP2010523172A | JP2013078660A | JP2015037655A | JP5506660B2 | US20080255519A1 | US20150080931A1 | US8876708 | US8888695 | US8911365 | US9314267 | WO2008121294A1
简单同族成员数量
20
简单同族被引用专利总数
674
诉讼案件数
0
法律状态/事件
授权 | 权利转移
抱歉,您的浏览器不支持PDF预览,请点击链接下载PDF文件