专利数据库
统计分析
产业报告
专利数据监控
产业人才
行业动态
产业政策法规
维权援助
个人中心
详情
文本
图像
标题
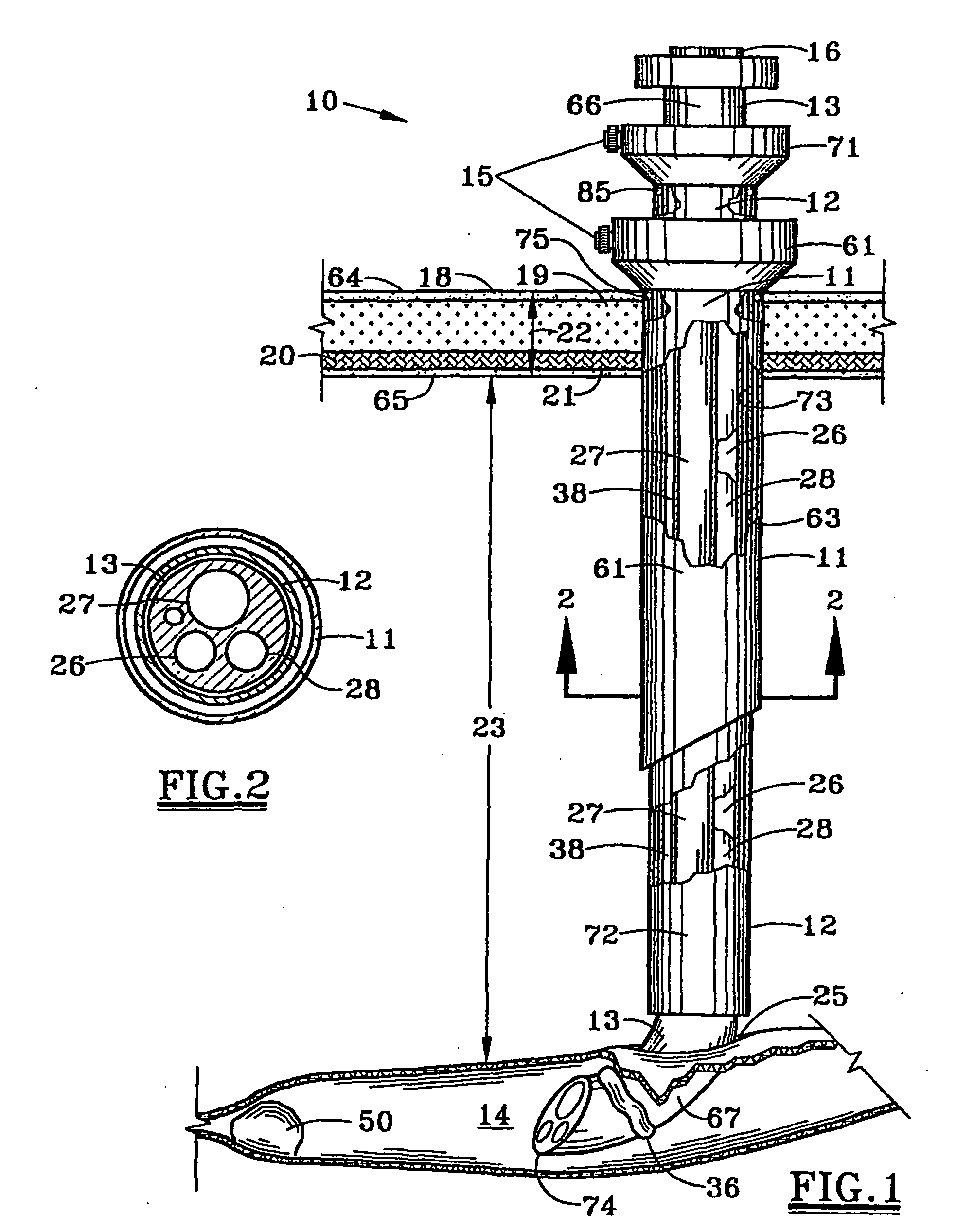
Laparoscopic instrument system for stone removal
授权日
2005-07-27
公开(公告)号
EP1267700B1
申请日
2001-03-22
公开(公告)日
2005-07-27
当前申请(专利权)人
SCOTT, GEORGE L., III | WENNER, DONALD E.
发明人
SCOTT, GEORGE L., III | WENNER, DONALD E.
简单同族
AT300231T | AU2001249333A1 | AU2001249333B2 | BRPI0109511A2 | CA2403970A1 | DE60112262D1 | DE60112262T2 | EP1267700A1 | EP1267700A4 | EP1267700B1 | US6440061 | WO2001072209A1
简单同族成员数量
12
简单同族被引用专利总数
448
诉讼案件数
0
法律状态/事件
授权
抱歉,您的浏览器不支持PDF预览,请点击链接下载PDF文件