专利数据库
统计分析
产业报告
专利数据监控
产业人才
行业动态
产业政策法规
维权援助
个人中心
详情
文本
图像
标题
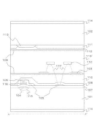
液晶表示装置及びその製造方法
授权日
1900-01-01
公开(公告)号
JP2009075569A
申请日
2008-08-20
公开(公告)日
2009-04-09
当前申请(专利权)人
株式会社ジャパンディスプレイイースト | パナソニック液晶ディスプレイ株式会社
发明人
松森 正樹 | 冨岡 安 | 國松 登
简单同族
CN101373296A | CN101373296B | JP2009075569A | JP5150409B2 | US10613390 | US20090053430A1 | US20140046004A1 | US20150210923A1 | US20180079962A1 | US8592009 | US9028926 | US9868907
简单同族成员数量
12
简单同族被引用专利总数
85
诉讼案件数
0
法律状态/事件
授权 | 权利转移
抱歉,您的浏览器不支持PDF预览,请点击链接下载PDF文件