专利数据库
统计分析
产业报告
专利数据监控
产业人才
行业动态
产业政策法规
维权援助
个人中心
详情
文本
图像
标题
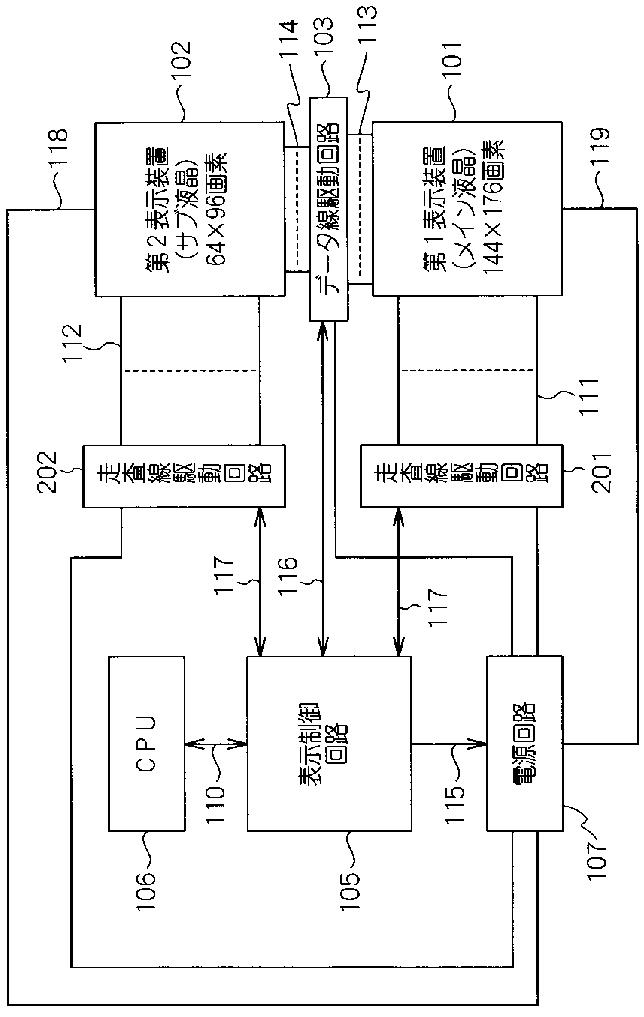
携帯型電子機器の表示装置
授权日
2011-08-05
公开(公告)号
JP4794801B2
申请日
2002-10-03
公开(公告)日
2011-10-19
当前申请(专利权)人
ルネサスエレクトロニクス株式会社
发明人
中井 大三郎 | 橋本 義春
简单同族
CN1282144C | CN1497510A | EP1406240A2 | EP1406240A3 | JP2004126257A | JP4794801B2 | KR100643432B1 | KR1020040031617A | TW200419492A | TWI248046B | US20040169618A1 | US20070210982A1 | US20070291041A1 | US7330163 | US7843400 | US8022892
简单同族成员数量
16
简单同族被引用专利总数
150
诉讼案件数
0
法律状态/事件
未缴年费 | 权利转移
抱歉,您的浏览器不支持PDF预览,请点击链接下载PDF文件