专利数据库
统计分析
产业报告
专利数据监控
产业人才
行业动态
产业政策法规
维权援助
个人中心
详情
文本
图像
标题
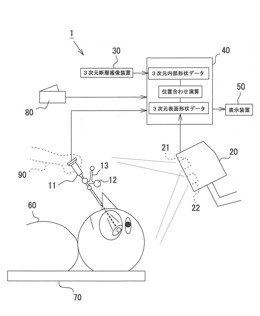
手術支援システム、手術支援方法、手術支援プログラム
授权日
1900-01-01
公开(公告)号
JP2017176773A
申请日
2016-03-31
公开(公告)日
2017-10-05
当前申请(专利权)人
国立大学法人浜松医科大学 | 株式会社アメリオ | 永島医科器械株式会社
发明人
山本 清二 | 三浦 武志 | 折本 正樹
简单同族
JP2017176773A
简单同族成员数量
1
简单同族被引用专利总数
0
诉讼案件数
0
法律状态/事件
实质审查 | 权利转移
抱歉,您的浏览器不支持PDF预览,请点击链接下载PDF文件