专利数据库
统计分析
产业报告
专利数据监控
产业人才
行业动态
产业政策法规
维权援助
个人中心
详情
文本
图像
标题
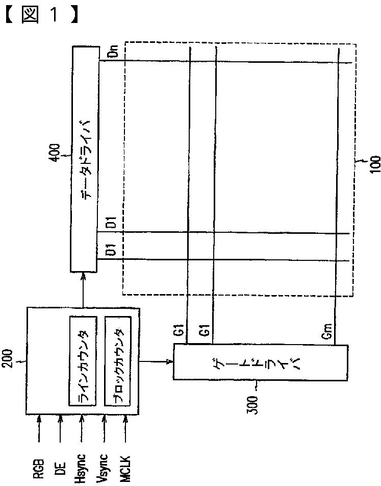
液晶表示装置及びその駆動方法
授权日
2008-08-01
公开(公告)号
JP4163685B2
申请日
2002-11-08
公开(公告)日
2008-10-08
当前申请(专利权)人
サムスン エレクトロニクス カンパニー リミテッド
发明人
リ,セウン-ウー
简单同族
AT507502T | AU2002354268A1 | CN1639616A | CN1639616B | DE60239894D1 | EP1525509A1 | EP1525509A4 | EP1525509B1 | JP2005531805A | JP4163685B2 | KR100870018B1 | KR1020040001688A | US20060097967A1 | US8044948 | WO2004003642A1
简单同族成员数量
15
简单同族被引用专利总数
55
诉讼案件数
0
法律状态/事件
未缴年费 | 权利转移
抱歉,您的浏览器不支持PDF预览,请点击链接下载PDF文件