专利数据库
统计分析
产业报告
专利数据监控
产业人才
行业动态
产业政策法规
维权援助
个人中心
详情
文本
图像
标题
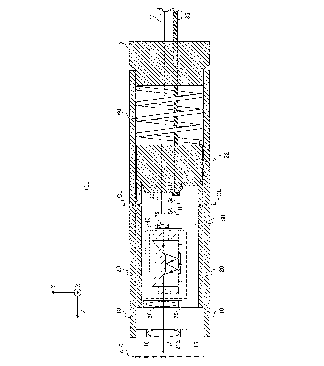
光走査装置および内視鏡
授权日
1900-01-01
公开(公告)号
JP2017058665A
申请日
2016-08-26
公开(公告)日
2017-03-23
当前申请(专利权)人
富士電機株式会社 | 国立大学法人九州大学
发明人
河村 幸則 | 石河 範明 | 橋爪 誠 | 澤田 廉士 | 兵藤 文紀 | 村田 正治
简单同族
JP2017058665A
简单同族成员数量
1
简单同族被引用专利总数
0
诉讼案件数
0
法律状态/事件
实质审查
抱歉,您的浏览器不支持PDF预览,请点击链接下载PDF文件