专利数据库
统计分析
产业报告
专利数据监控
产业人才
行业动态
产业政策法规
维权援助
个人中心
详情
文本
图像
标题
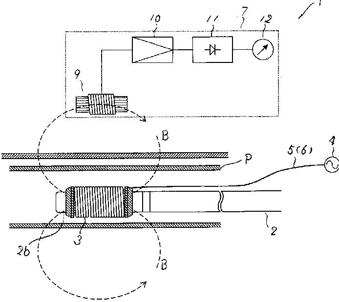
配管内部検査装置
授权日
1900-01-01
公开(公告)号
JP2014198166A
申请日
2013-03-29
公开(公告)日
2014-10-23
当前申请(专利权)人
大阪瓦斯株式会社 | フジテコム株式会社
发明人
綱崎 勝 | 久保田 兼士
简单同族
JP2014198166A
简单同族成员数量
1
简单同族被引用专利总数
0
诉讼案件数
0
法律状态/事件
撤回
抱歉,您的浏览器不支持PDF预览,请点击链接下载PDF文件