专利数据库
统计分析
产业报告
专利数据监控
产业人才
行业动态
产业政策法规
维权援助
个人中心
详情
文本
图像
标题
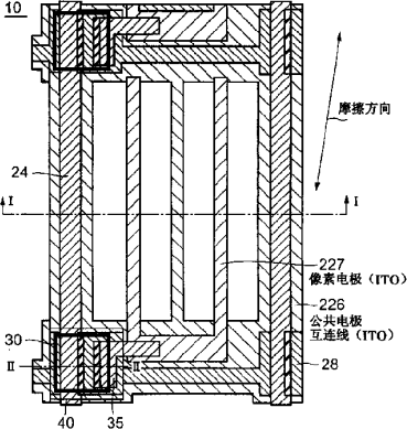
面内开关模式液晶显示器
授权日
1900-01-01
公开(公告)号
CN1448762A
申请日
2003-03-31
公开(公告)日
2003-10-15
当前申请(专利权)人
格特纳基金有限责任公司
发明人
松本公一 | 板仓州优 | 西田真一
简单同族
CN1251011C | CN1448762A | JP2003295207A | KR100510566B1 | KR1020030078795A | TW200305762A | TW594341B | US20030184699A1 | US6950165
简单同族成员数量
9
简单同族被引用专利总数
119
诉讼案件数
0
法律状态/事件
授权 | 权利转移
抱歉,您的浏览器不支持PDF预览,请点击链接下载PDF文件