专利数据库
统计分析
产业报告
专利数据监控
产业人才
行业动态
产业政策法规
维权援助
个人中心
详情
文本
图像
标题
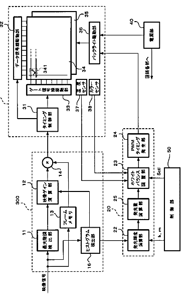
液晶表示装置及びこれに用いる映像表示方法
授权日
1900-01-01
公开(公告)号
JP2010072281A
申请日
2008-09-18
公开(公告)日
2010-04-02
当前申请(专利权)人
株式会社JVCケンウッド
发明人
綿貫 克己
简单同族
CN101676983A | CN101676983B | EP2166532A2 | EP2166532A3 | EP2166532B1 | JP2010072281A | JP4968219B2 | KR101030304B1 | KR1020100032810A | US20100066752A1 | US8421740
简单同族成员数量
11
简单同族被引用专利总数
82
诉讼案件数
0
法律状态/事件
授权 | 权利转移
抱歉,您的浏览器不支持PDF预览,请点击链接下载PDF文件