专利数据库
统计分析
产业报告
专利数据监控
产业人才
行业动态
产业政策法规
维权援助
个人中心
详情
文本
图像
标题
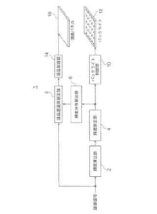
画像表示装置および画像表示方法
授权日
1900-01-01
公开(公告)号
JP2009139470A
申请日
2007-12-04
公开(公告)日
2009-06-25
当前申请(专利权)人
株式会社東芝
发明人
野 中 亮 助 | 馬 場 雅 裕 | 伊 藤 剛
简单同族
JP2009139470A | JP5122927B2 | US20090140975A1 | US8184088
简单同族成员数量
4
简单同族被引用专利总数
63
诉讼案件数
0
法律状态/事件
授权 | 权利转移
抱歉,您的浏览器不支持PDF预览,请点击链接下载PDF文件