专利数据库
统计分析
产业报告
专利数据监控
产业人才
行业动态
产业政策法规
维权援助
个人中心
详情
文本
图像
标题
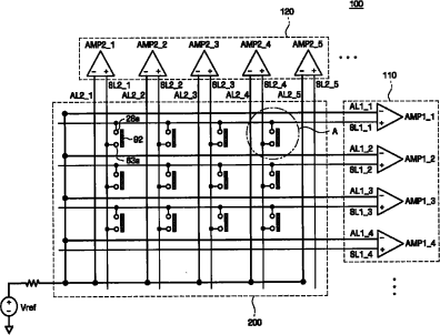
具有集成触摸面板的LCD
授权日
1900-01-01
公开(公告)号
CN101178524A
申请日
2007-11-08
公开(公告)日
2008-05-14
当前申请(专利权)人
三星显示有限公司
发明人
文胜焕
简单同族
CN101178524A | CN101178524B | EP1921537A2 | EP1921537A3 | EP1921537B1 | JP2008122913A | JP5350606B2 | KR101297387B1 | KR1020080042294A | US20080129898A1 | US20130286301A1 | US8493518 | US8842228
简单同族成员数量
13
简单同族被引用专利总数
250
诉讼案件数
0
法律状态/事件
授权 | 权利转移
抱歉,您的浏览器不支持PDF预览,请点击链接下载PDF文件