专利数据库
统计分析
产业报告
专利数据监控
产业人才
行业动态
产业政策法规
维权援助
个人中心
详情
文本
图像
标题
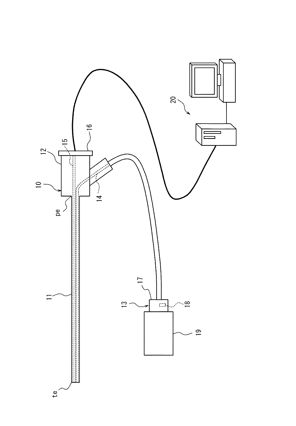
内視鏡
授权日
2019-07-17
公开(公告)号
JP3222588U
申请日
2019-05-31
公开(公告)日
2019-08-08
当前申请(专利权)人
株式会社住田光学ガラス
发明人
芳賀 逸人 | 菅家 守人
简单同族
JP3222588U
简单同族成员数量
1
简单同族被引用专利总数
0
诉讼案件数
0
法律状态/事件
授权
抱歉,您的浏览器不支持PDF预览,请点击链接下载PDF文件