专利数据库
统计分析
产业报告
专利数据监控
产业人才
行业动态
产业政策法规
维权援助
个人中心
详情
文本
图像
标题
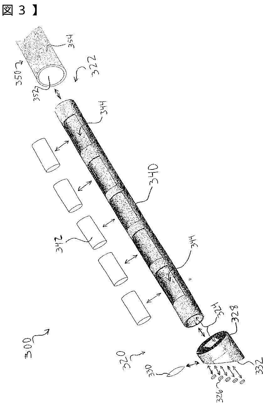
内視鏡及び内視鏡アセンブリを製造する方法
授权日
2014-06-06
公开(公告)号
JP5555670B2
申请日
2011-07-08
公开(公告)日
2014-07-23
当前申请(专利权)人
インテグレーテッド エンドスコピー インコーポレーテッド
发明人
ライト、ジョージ、エム. | アルマーゾック、ケイス
简单同族
EP1742566A2 | EP1742566A4 | EP1742566B1 | EP2407089A1 | ES2746952T3 | JP2008501371A | JP2008501371A5 | JP2011251131A | JP5069098B2 | JP5555670B2 | US10448806 | US20060041193A1 | US20110263941A1 | US20130345507A1 | US7976462 | US8636652 | WO2005099376A2 | WO2005099376A3
简单同族成员数量
18
简单同族被引用专利总数
137
诉讼案件数
0
法律状态/事件
授权
抱歉,您的浏览器不支持PDF预览,请点击链接下载PDF文件