专利数据库
统计分析
产业报告
专利数据监控
产业人才
行业动态
产业政策法规
维权援助
个人中心
详情
文本
图像
标题
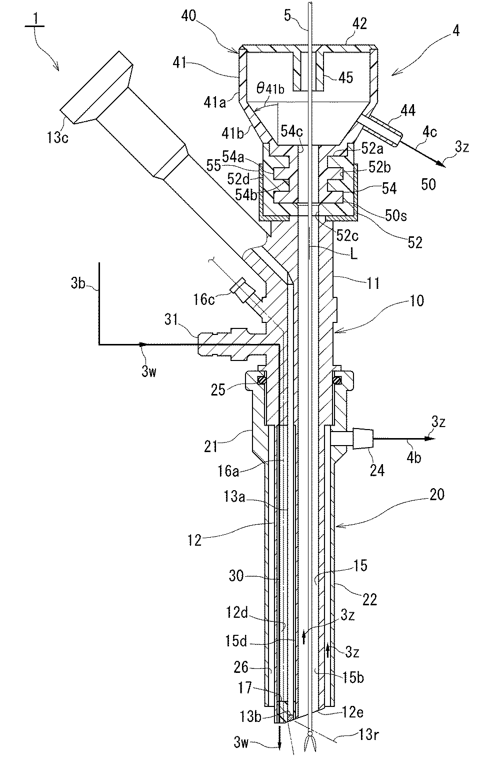
内視鏡装置
授权日
1900-01-01
公开(公告)号
JP2018126237A
申请日
2017-02-07
公开(公告)日
2018-08-16
当前申请(专利权)人
株式会社JIMRO
发明人
宮城 邦彦 | 三澤 雅幸 | 三潟 麻衣
简单同族
JP2018126237A
简单同族成员数量
1
简单同族被引用专利总数
0
诉讼案件数
0
法律状态/事件
公开
抱歉,您的浏览器不支持PDF预览,请点击链接下载PDF文件