专利数据库
统计分析
产业报告
专利数据监控
产业人才
行业动态
产业政策法规
维权援助
个人中心
详情
文本
图像
标题
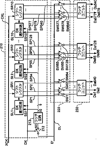
電気光学パネルのデータ線駆動回路、その制御方法、電気光学装置、および電子機器
授权日
1900-01-01
公开(公告)号
JP2001306014A
申请日
2000-04-26
公开(公告)日
2001-11-02
当前申请(专利权)人
セイコーエプソン株式会社
发明人
小澤 徳郎
简单同族
CN1172284C | CN1320900A | JP2001306014A | JP3835113B2 | KR100427518B1 | KR1020020004810A | TWI230916B | US20020000969A1 | US6683596
简单同族成员数量
9
简单同族被引用专利总数
140
诉讼案件数
0
法律状态/事件
期限届满 | 权利转移
抱歉,您的浏览器不支持PDF预览,请点击链接下载PDF文件