专利数据库
统计分析
产业报告
专利数据监控
产业人才
行业动态
产业政策法规
维权援助
个人中心
详情
文本
图像
标题
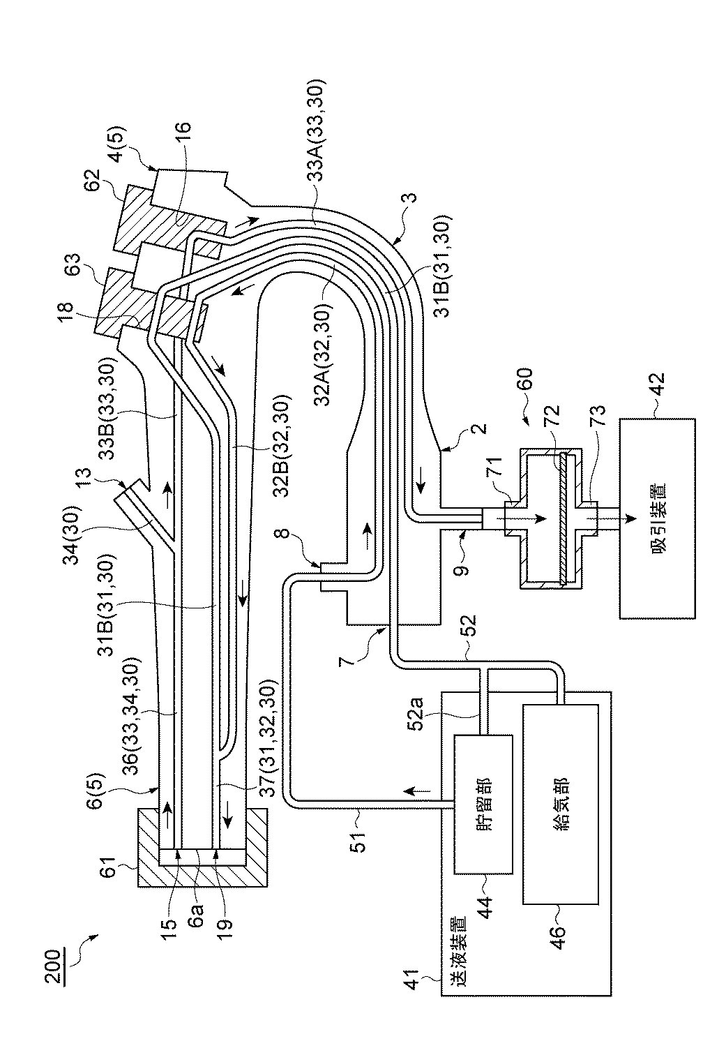
内視鏡洗浄度評価システム、及び内視鏡洗浄度評価方法
授权日
1900-01-01
公开(公告)号
JP2019033783A
申请日
2017-08-10
公开(公告)日
2019-03-07
当前申请(专利权)人
スリーエム イノベイティブ プロパティズ カンパニー
发明人
野間 由里 | 天井 朋美 | 高貴 俊輔 | 松岡 宏行 | 佐々木 哲也
简单同族
JP2019033783A
简单同族成员数量
1
简单同族被引用专利总数
0
诉讼案件数
0
法律状态/事件
实质审查
抱歉,您的浏览器不支持PDF预览,请点击链接下载PDF文件