专利数据库
统计分析
产业报告
专利数据监控
产业人才
行业动态
产业政策法规
维权援助
个人中心
详情
文本
图像
标题
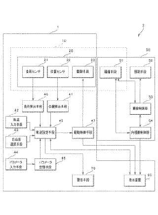
マニピュレータ装置および医療機器システム
授权日
1900-01-01
公开(公告)号
JP2009107074A
申请日
2007-10-30
公开(公告)日
2009-05-21
当前申请(专利权)人
オリンパスメディカルシステムズ株式会社
发明人
梅本 義孝 | 高橋 和彦 | 野波 徹緒
简单同族
CN101422901A | CN101422901B | EP2058090A2 | EP2058090A3 | EP2058090B1 | JP2009107074A | JP2009107074A5 | JP5028219B2 | US20090112316A1 | US8388605
简单同族成员数量
10
简单同族被引用专利总数
80
诉讼案件数
0
法律状态/事件
授权 | 权利转移
抱歉,您的浏览器不支持PDF预览,请点击链接下载PDF文件