专利数据库
统计分析
产业报告
专利数据监控
产业人才
行业动态
产业政策法规
维权援助
个人中心
详情
文本
图像
标题
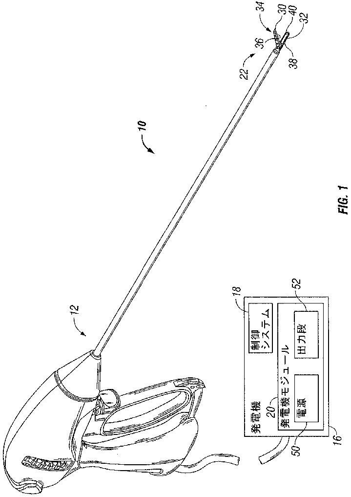
組織を分割するためのエネルギーの送達を制御するための方法およびシステム
授权日
1900-01-01
公开(公告)号
JP2007195981A
申请日
2007-01-23
公开(公告)日
2007-08-09
当前申请(专利权)人
コヴィディエン·アクチェンゲゼルシャフト
发明人
ゲイリー エム. クーチュール | クリスティン ディー. ジョンソン | ロバート シャープ | ジェフ アンガー | クレイグ ウェインバーグ | ロバート エイチ. ワム
简单同族
AU2007200270A1 | AU2007200270B2 | CA2574864A1 | CA2574864C | EP1810627A1 | EP1810627B1 | JP2007195981A | JP2012166057A | JP2012183329A | JP5095229B2 | JP5538474B2 | US20070173811A1 | US8882766
简单同族成员数量
13
简单同族被引用专利总数
475
诉讼案件数
0
法律状态/事件
未缴年费
抱歉,您的浏览器不支持PDF预览,请点击链接下载PDF文件