专利数据库
统计分析
产业报告
专利数据监控
产业人才
行业动态
产业政策法规
维权援助
个人中心
详情
文本
图像
标题
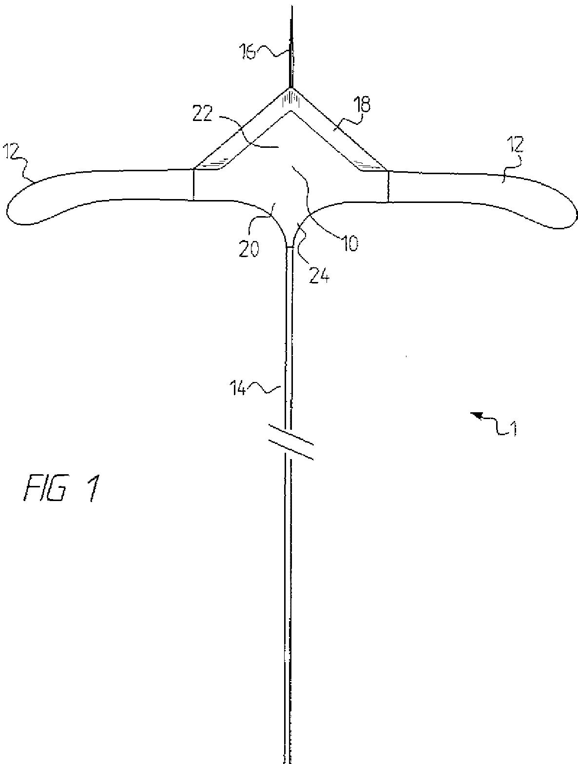
内視鏡血管手術のための装置および方法
授权日
1900-01-01
公开(公告)号
JP2003534034A
申请日
2001-02-22
公开(公告)日
2003-11-18
当前申请(专利权)人
ソレム、ヤン、オットー
发明人
ソレム、ヤン、オットー
简单同族
AU2001246467A1 | CA2401485A1 | EP1259171A1 | JP2003534034A | SE0000642D0 | SE0000642L | SE516259C2 | US6248119 | WO2001064113A1
简单同族成员数量
9
简单同族被引用专利总数
63
诉讼案件数
0
法律状态/事件
撤回
抱歉,您的浏览器不支持PDF预览,请点击链接下载PDF文件