专利数据库
统计分析
产业报告
专利数据监控
产业人才
行业动态
产业政策法规
维权援助
个人中心
详情
文本
图像
标题
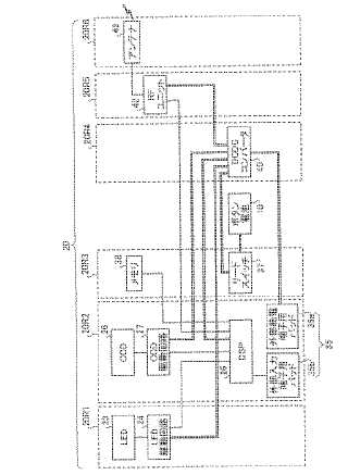
カプセル型医療装置
授权日
1900-01-01
公开(公告)号
JP2005205071A
申请日
2004-01-26
公开(公告)日
2005-08-04
当前申请(专利权)人
オリンパス株式会社
发明人
藤森 紀幸 | 鈴島 浩
简单同族
JP2005205071A | JP2005205071A5 | US20060264709A1 | WO2005070281A1
简单同族成员数量
4
简单同族被引用专利总数
60
诉讼案件数
0
法律状态/事件
驳回
抱歉,您的浏览器不支持PDF预览,请点击链接下载PDF文件