专利数据库
统计分析
产业报告
专利数据监控
产业人才
行业动态
产业政策法规
维权援助
个人中心
详情
文本
图像
标题
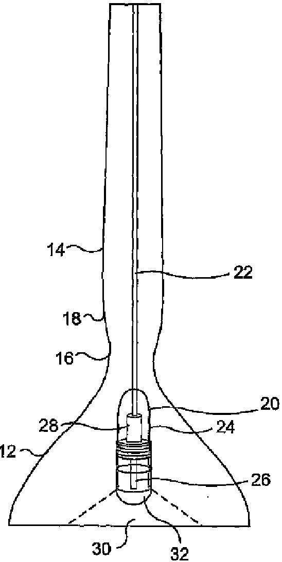
バレット食道検診用のテザー付きカプセル内視鏡
授权日
1900-01-01
公开(公告)号
JP2008531193A
申请日
2006-02-09
公开(公告)日
2008-08-14
当前申请(专利权)人
ユニヴァーシティ オブ ワシントン
发明人
エリック ザイベル | マイケル キミー | リチャード ジョンストン
简单同族
EP1855581A2 | EP1855581A4 | JP2008531193A | JP2013240712A | JP2015109982A | JP6127072B2 | US20060195014A1 | US20070299309A1 | US20160000312A1 | US7530948 | US9161684 | US9872613 | WO2006093655A2 | WO2006093655A3 | WO2006093655B1
简单同族成员数量
15
简单同族被引用专利总数
456
诉讼案件数
0
法律状态/事件
驳回
抱歉,您的浏览器不支持PDF预览,请点击链接下载PDF文件