专利数据库
统计分析
产业报告
专利数据监控
产业人才
行业动态
产业政策法规
维权援助
个人中心
详情
文本
图像
标题
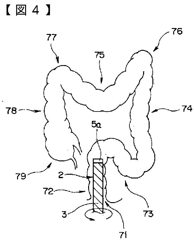
挿入装置
授权日
2009-08-07
公开(公告)号
JP4354485B2
申请日
2005-05-16
公开(公告)日
2009-10-28
当前申请(专利权)人
オリンパス株式会社
发明人
倉 康人 | 安達 勝貴
简单同族
JP4354485B2 | JP4472695B2 | JPWO2005110192A1 | JPWO2005110194A1 | US20070059989A1 | US20070066104A1 | US7621867 | WO2005110192A1 | WO2005110194A1
简单同族成员数量
9
简单同族被引用专利总数
67
诉讼案件数
0
法律状态/事件
授权 | 权利转移
抱歉,您的浏览器不支持PDF预览,请点击链接下载PDF文件