专利数据库
统计分析
产业报告
专利数据监控
产业人才
行业动态
产业政策法规
维权援助
个人中心
详情
文本
图像
标题
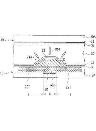
液晶表示装置および電子機器
授权日
1900-01-01
公开(公告)号
JP2003295165A
申请日
2002-12-20
公开(公告)日
2003-10-15
当前申请(专利权)人
セイコーエプソン株式会社
发明人
小澤 欣也 | 浦野 信孝 | 前田 強
简单同族
CN1202437C | CN1435714A | CN2684227Y | JP2003295165A | JP4068951B2 | KR100525876B1 | KR1020030065353A | TW200307154A | TWI224699B | US20030160928A1 | US20050018120A1 | US20060203157A1 | US7088408 | US7271866 | US7671941
简单同族成员数量
15
简单同族被引用专利总数
111
诉讼案件数
0
法律状态/事件
授权 | 权利转移
抱歉,您的浏览器不支持PDF预览,请点击链接下载PDF文件