专利数据库
统计分析
产业报告
专利数据监控
产业人才
行业动态
产业政策法规
维权援助
个人中心
详情
文本
图像
标题
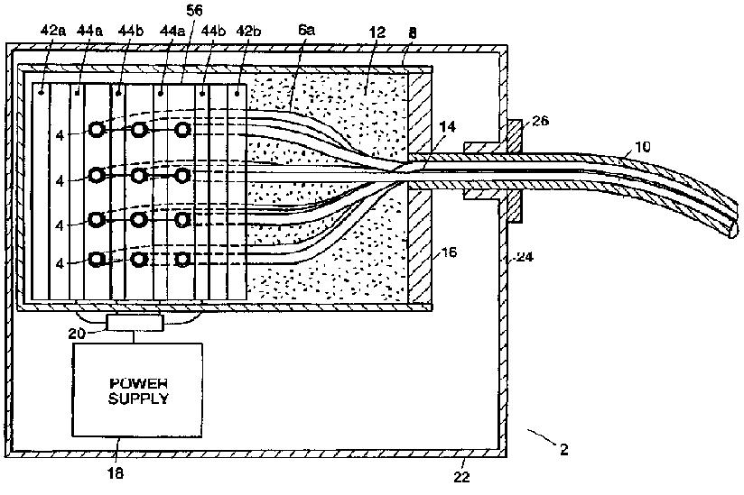
固体光源
授权日
1900-01-01
公开(公告)号
JP2005502083A
申请日
2002-08-26
公开(公告)日
2005-01-20
当前申请(专利权)人
スミス アンド ネフュー インコーポレーテッド
发明人
カザケヴィッチ,ユーリ
简单同族
EP1421428A2 | EP1421428B1 | JP2005502083A | JP2005502083A5 | JP2007148418A | JP4444272B2 | US20030042493A1 | US20050276553A1 | US20080112182A1 | US20080130311A1 | US20110205751A1 | US20140029290A1 | US20150346427A1 | US6921920 | US7345312 | US7540645 | US7959338 | US8545077 | US9116282 | WO2003021329A2 | WO2003021329A3
简单同族成员数量
21
简单同族被引用专利总数
508
诉讼案件数
0
法律状态/事件
驳回
抱歉,您的浏览器不支持PDF预览,请点击链接下载PDF文件