专利数据库
统计分析
产业报告
专利数据监控
产业人才
行业动态
产业政策法规
维权援助
个人中心
详情
文本
图像
标题
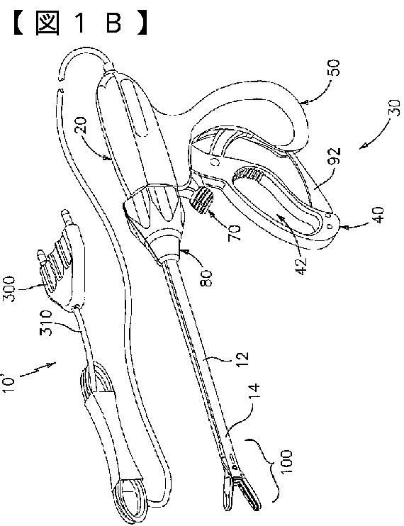
血管の封着機および分割機
授权日
2008-03-21
公开(公告)号
JP4097528B2
申请日
2002-01-22
公开(公告)日
2008-06-11
当前申请(专利权)人
コビディエン アーゲー
发明人
ディカス, シーン | シールズ, チェルシー | コウチュアー, ギャリー | ジェイムス, ジェレミー スコット | ジョンソン, クリスティン ディー. | ノギュエン, ラップ ピー. | テッツラフ, フィリップ エム. | ワルゼチャ, マイクル アール. | モーゼス, マイケル シー. | シェクター, デイビット
简单同族
AU2001256990A1 | AU2001256990B2 | AU2002240025A1 | AU2002240025B2 | AU2002240025B8 | CA2442681A1 | CA2442681C | CA2443298A1 | CA2443298C | CA2719879A1 | CA2719879C | DE60109328D1 | DE60109328T2 | DE60142587D1 | DE60226015D1 | DE60226015T2 | EP1372510A1 | EP1372510B1 | EP1372511A1 | EP1372511B1 | EP1535581A2 | EP1535581A3 | EP1535581B1 | EP1952777A1 | EP1952777A8 | EP1952777B1 | EP2226029A2 | EP2226029A3 | EP2226029B1 | EP2260782A2 | EP2260782A3 | EP2260782B1 | EP2263586A2 | EP2263586A3 | EP2263586B1 | EP2298207A1 | EP2298207B1 | ES2236221T3 | ES2301620T3 | ES2348664T3 | ES2545955T3 | JP2004524922A | JP2005512606A | JP2007325956A | JP2011062535A | JP2013006038A | JP4097528B2 | JP4504621B2 | JP4762957B2 | JP5477969B2 | WO2002080795A1 | WO2002080799A1
简单同族成员数量
52
简单同族被引用专利总数
496
诉讼案件数
0
法律状态/事件
授权
抱歉,您的浏览器不支持PDF预览,请点击链接下载PDF文件