专利数据库
统计分析
产业报告
专利数据监控
产业人才
行业动态
产业政策法规
维权援助
个人中心
详情
文本
图像
标题
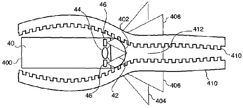
変形されていない胃腸管の生体内撮像のための方法
授权日
1900-01-01
公开(公告)号
JP2004528919A
申请日
2002-05-20
公开(公告)日
2004-09-24
当前申请(专利权)人
ギブン·イメージング·リミテッド
发明人
グルコフスキー,アルカディ
简单同族
AU2002302959A1 | EP1418844A2 | EP1418844A4 | IL143258D0 | JP2004528919A | JP2004528919A5 | US20040138532A1 | WO2002094337A2 | WO2002094337A3
简单同族成员数量
9
简单同族被引用专利总数
126
诉讼案件数
0
法律状态/事件
驳回
抱歉,您的浏览器不支持PDF预览,请点击链接下载PDF文件