专利数据库
统计分析
产业报告
专利数据监控
产业人才
行业动态
产业政策法规
维权援助
个人中心
详情
文本
图像
标题
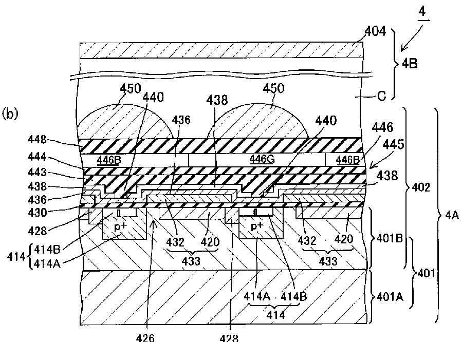
固体撮像装置およびこれを用いた電子内視鏡
授权日
2011-09-30
公开(公告)号
JP4834412B2
申请日
2006-02-03
公开(公告)日
2011-12-14
当前申请(专利权)人
富士フイルム株式会社
发明人
嶋村 均 | 高橋 一昭 | 西田 和弘
简单同族
CN101013714A | CN101013714B | EP1816678A2 | EP1816678A3 | EP1816678B1 | JP2007202921A | JP2007202921A5 | JP4834412B2 | KR101286099B1 | KR1020070079931A | US20070182843A1 | US7692710
简单同族成员数量
12
简单同族被引用专利总数
93
诉讼案件数
0
法律状态/事件
授权 | 权利转移
抱歉,您的浏览器不支持PDF预览,请点击链接下载PDF文件