专利数据库
统计分析
产业报告
专利数据监控
产业人才
行业动态
产业政策法规
维权援助
个人中心
详情
文本
图像
标题
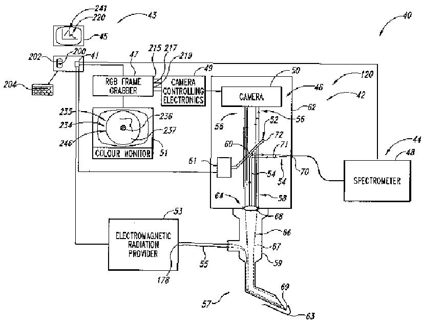
蛍光及び反射率撮像と分光のための方法及び装置並びに多数の測定装置による電磁放射線の同時測定のための方法及び装置
授权日
1900-01-01
公开(公告)号
JP2004520105A
申请日
2001-12-18
公开(公告)日
2004-07-08
当前申请(专利权)人
パーセプトロニクス メディカル インコーポレイテッド
发明人
ゼン、 ハイシャン | ラム、 スティーブン | パルシック、 ブランコ ミハエル
简单同族
AU2002015792A1 | AU2002215792B2 | AU2006202483A1 | AU2006202484A1 | CA2432447A1 | CN100477952C | CN1489446A | EP1347702A2 | JP2004520105A | JP2008261885A | JP4499354B2 | US20020103439A1 | US20050167621A1 | US20050203421A1 | US20050203423A1 | US6826424 | US6898458 | US7115841 | US7190452 | US7253894 | WO2002050518A2 | WO2002050518A3
简单同族成员数量
22
简单同族被引用专利总数
443
诉讼案件数
0
法律状态/事件
未缴年费 | 权利转移
抱歉,您的浏览器不支持PDF预览,请点击链接下载PDF文件